Les boulons d'expédition dans la machine à laver sont préinstallés en usine lors de la pré-livraison et sont conçus pour sécuriser la position du réservoir de chargement massif pendant le transport.
Pourquoi et où se trouvent les boulons d'expédition?
Étant donné que lors du transport et de la livraison de la machine sur le site d'installation, elle peut être inclinée dans différents plans, les boulons sont installés sur quatre côtés du réservoir, limitant son mouvement dans toutes les directions depuis la position de travail. Ceci est nécessaire pour éviter d'endommager les pièces entourant le réservoir, mais, ce qui est particulièrement important, pour protéger le réservoir lui-même des moindres déformations, des changements de géométrie ou du déplacement par rapport à la position installée.
Un centrage et un équilibrage précis du réservoir par rapport à l'axe de rotation sont de la plus haute importance, car en mode de rotation, le réservoir tourne à grande vitesse et le moindre déséquilibre entraîne une augmentation des vibrations de la machine, des charges élevées sur les roulements et les amortisseurs, ce qui réduit leur durée de vie.
Lors du déballage et de l'installation du lave-linge sur un lieu de travail permanent, les boulons d'expédition doivent être retirés. Beaucoup de gens se demandent ce qui se passera si les boulons d'expédition ne sont pas retirés de la machine à laver? Si vous oubliez de les retirer, pendant le fonctionnement, le réservoir touchera les boulons et sera endommagé ou déformé.
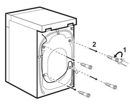
Selon le modèle de machine à laver, la conception et l'emplacement du réservoir, les boulons de transport sur la machine à laver sont situés sur le panneau arrière ou sous le capot supérieur de la machine. Le nombre de boulons est généralement limité à 4 pièces. Ce sont des boulons allongés avec un filetage court à l'extrémité avec une rondelle d'étanchéité et des rondelles de sécurité en plastique ou en caoutchouc qui fixent le réservoir. Sur certains modèles de machines, des broches métalliques peuvent être utilisées à la place des boulons.
Voir également - Installer le lave-linge vous-même
Comment retirer les boulons d'expédition
Souvent, des acheteurs non informés, achetant une machine à laver, refusent les services de livraison et d'installation, économisent de l'argent, comptent sur leur propre force et leurs propres moyens de transport. En conséquence, ne trouvant pas le texte en russe dans le mode d'emploi et étant emportés en connectant les tuyaux, ne sachant pas pourquoi les boulons d'expédition sont nécessaires, ils oublient de les retirer. Les conséquences peuvent être très tristes, car le centre de service, malgré la garantie, refusera d'effectuer des réparations gratuites en raison de la violation des instructions d'utilisation de la machine par l'utilisateur.
Le retrait des boulons de transport est facile. Cela nécessite une simple clé, généralement de 10 à 14 mm. Les boulons ne peuvent pas être serrés avec un grand effort, ils doivent donc être desserrés dans le sens antihoraire avec peu d'effort initial. Dévissez les quatre boulons avec les rondelles et les entretoises.À la place des trous restants, des bouchons en plastique spéciaux sont installés, qui sont attachés au manuel d'instructions, pour vous rappeler de retirer les boulons d'expédition (ne les regardez pas avec surprise, en pensant où les mettre?).

Les bouchons, en plus des fins décoratives, empêchent l'humidité de pénétrer dans l'unité de l'extérieur et couvrent le bruit du moteur en marche. Si des goupilles de sécurité sont installées à la place des boulons dans la machine, elles sont alors retirées avec des pinces. Pour ce faire, saisissez la tête de la goupille avec une pince et tournez-la de 90 degrés de chaque côté. Dans ce cas, les saillies sur la goupille coïncideront avec les découpes dans le corps de la machine, et elle peut être librement retirée de sa place. Il est recommandé de conserver les fixations retirées avec les accessoires pour les réutiliser s'il est nécessaire de transporter la machine pour des réparations ou vers un autre lieu d'installation en cas de déménagement.
Comment transporter une machine à laver
Si vous décidez de transporter la machine à laver, elle doit être nettoyée, tous les tuyaux débranchés et l'eau restante doit être évacuée. Ensuite, vous devez installer les boulons de transport en place, après avoir retiré les bouchons en premier. Pour ce faire, vous devez les compléter avec des rondelles d'étanchéité et des garnitures de protection qui ont été retirées plus tôt. Lors de l'installation des fixations, il est important d'insérer précisément leurs extrémités dans les trous filetés à l'intérieur du boîtier, ce qui nécessitera une certaine compétence. N'oubliez pas que le transport du lave-linge sans les boulons de transport peut entraîner des conséquences irréversibles.

Il est possible qu'un certain effort soit nécessaire pour les visser dans les sièges, car le filetage peut se boucher pendant le fonctionnement. Si l'installation correcte des boulons interfère avec le réservoir, vous devez le tourner légèrement à la main. Vous devez transporter la machine en position verticale, en évitant les coups violents. Lors du transport, il est autorisé à se retourner dans diverses positions, en observant la prudence et le mouvement en douceur.
N'oubliez pas de retirer les attaches de sécurité après l'installation dans un nouvel emplacement!
Voir également:
- 7 meilleures machines à laver de moins de 20000 roubles selon les avis des clients
- 8 meilleures machines à laver étroites selon l'opinion des acheteurs
- 8 meilleures machines à laver BEKO selon les avis des clients
- Top 10 des machines à laver Samsung
- 10 meilleures machines à laver à chargement par le haut
